Position, Displacement, and Level Sensors: An Overview
Advertisement
The measurement of position, displacement, or level is crucial in a wide array of applications. Think process feedback control, transportation management, robotics, security systems, and more.
Here, “position” refers to pinpointing an object’s coordinates (linear or angular) relative to a chosen reference point. “Displacement” describes movement from one position to another over a specific distance or angle.
Understanding Proximity, Position, and Displacement Sensors
A proximity sensor measures critical distances. It acts as a threshold-based version of a position detector. Essentially, a position sensor is a linear device providing an output signal that represents the distance to an object from a specific reference. A proximity sensor, on the other hand, simply triggers an output signal when an object reaches a certain proximity.
Displacement sensors often form part of more complex sensors. They detect movement as one step in a larger signal conversion process. A pressure sensor provides a good example: pressure is first converted into the displacement of a diaphragm, then the diaphragm’s displacement is converted into an electrical signal representing pressure.
Therefore, position sensors are fundamental in designing many other sensor types. These sensors are typically static devices where speed of response isn’t critical.
Key Considerations for Selecting or Designing Sensors
When selecting or designing displacement or position sensors, keep these specifications in mind:
- Displacement Magnitude and Type: How large is the displacement? Is it linear or circular?
- Resolution and Accuracy: What levels of resolution and accuracy are needed?
- Measured Object Material: What is the object made of (e.g., metal, plastic, fluid, ferromagnetic material)?
- Mounting Space: How much space is available to mount the sensor?
- Play and Detection Range: How much play is present in the moving assembly, and what detection range is needed?
- Environmental Conditions: What are the humidity, temperature, interference sources, vibration levels, and presence of corrosive materials?
- Power Availability: How much power can the sensor draw?
- Mechanical Wear: What’s the expected mechanical wear over the machine’s lifetime?
- Production Volume: What’s the production quantity of the sensing assembly (limited, medium, or mass production)?
- Target Cost: What is the target cost for the detecting assembly?
Potentiometer as a Position Sensor

Figure-1 depicts potentiometer as displacement sensor.
A position sensor can be constructed using a linear or rotary potentiometer (pot).
The resistance () of a conductor is given by:
Where:
- is the resistance.
- is the cross-sectional area.
- is the length of the conductor.
As shown above, resistance is directly proportional to the wire length. Displacement measurements can be achieved by having the object control the wire’s length, as in a potentiometer.
In Figure 1, a stimulus is coupled to the pot wire, and its movement causes the resistance to change accordingly. Most electronic circuits use resistance measurement as a function of voltage drop. The voltage drop () across the wiper of a linear potentiometer is:
Where:
- is the full-scale displacement.
- is the voltage across the pot.
- is the displacement.
The output signal is proportional to the excitation voltage applied across the sensor.
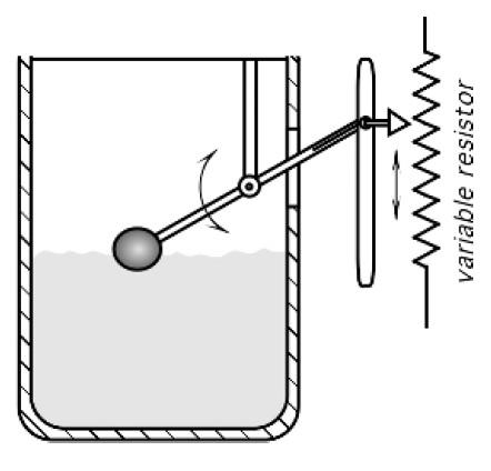
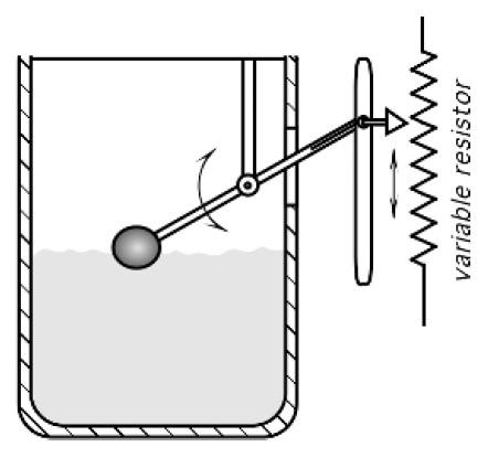
Fluid Level Sensor

Figure-2 depicts gravitational fluid level sensor using a float.
Figure 2 illustrates a gravitational fluid level sensor utilizing a float. As the liquid level rises or falls, the float’s position changes. This, in turn, varies the position of the wiper arm across the resistance, enabling the measurement of the fluid level.
Advertisement
RF