WiMAX Physical Layer: Understanding the OFDM Implementation
Advertisement
This article delves into the OFDM (Orthogonal Frequency Division Multiplexing) physical layer of WiMAX as defined by the IEEE 802.16-2004 specifications. We will explore the WiMAX TDD frame structure, dissect the transmitter block diagram, examine the modulation-code rate tables for fixed WiMAX, and elucidate the functions of each module within the transmitter. We will trace the path of data as it traverses the physical layer modules, including the scrambler, Reed-Solomon encoder, convolutional encoder, puncturing, interleaver, data mapper (for modulation), OFDM symbol formation, 256-point IFFT, and cyclic prefix (CP) insertion, before the baseband data is fed to the DAC (Digital-to-Analog Converter) and the RF (Radio Frequency) section for transmission over the air.
Introduction to WiMAX and OFDM
This article will cover the fixed WiMAX frame and symbol structure, describe the fixed WiMAX Physical layer (OFDM physical layer) modules, and briefly discuss the functions of each, adhering to the IEEE 802.16-2004 standard. IEEE 802.16-2004 defines five physical layers: SC, SCa, OFDM, OFDMA, and WirelessHUMAN. The OFDM physical layer is employed in the broadband technology known as ‘fixed WiMAX,’ while OFDMA is used in Mobile WiMAX.
WiMAX TDD Frame Structure
In WiMAX, frames are either TDD (Time Division Duplex) or FDD (Frequency Division Duplex). Fixed WiMAX predominantly utilizes TDD, which has been adopted by the WiMAX forum.

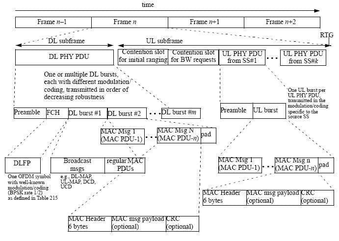
Figure-1: WiMAX OFDM Frame Structure
A TDD frame is divided into two subframes: a downlink (DL) subframe and an uplink (UL) subframe. The DL-subframe is transmitted by the base station and received by the subscriber station, while the UL subframe is transmitted by multiple SSs and received by the base station.
The DL subframe consists of a preamble, FCH (Frame Control Header), followed by downlink bursts. The preamble comprises two symbols for the DL-subframe and one symbol for the UL-subframe (with an exception in the Ranging Request frame). The preamble is a known pattern used primarily for synchronization (time, frequency, and channel) at the receiver.
The FCH in the WiMAX frame, also known as DLFP (Downlink Frame Prefix), contains 88 bits carrying information such as the lengths (in symbols) and modulation-code rates of the downlink bursts. It also includes the BSID (Base Station Identifier) and Frame Numbers used in seed calculation. Since the FCH is always BPSK-1/2 (Binary Phase Shift Keying, rate 1/2), it can be easily demodulated and decoded by the subscriber station to obtain data used for demodulation and decoding of subsequent downlink bursts.
Both Downlink and Uplink Bursts carry MAC PDUs (Protocol Data Units), which consist of a GMH (Generic MAC Header), payload, and CRC (Cyclic Redundancy Check).
The UL subframe consists of multiple uplink bursts, each transmitted by a subscriber station and comprising a preamble followed by the burst, which carries the MAC PDU.
WiMAX Physical Layer Block Diagram (OFDM Modulation)
The physical layer primarily consists of modules for scrambling, Reed-Solomon encoding, convolutional encoding, puncturing, interleaving, data mapping (data modulation), OFDM symbol formation, 256-point IFFT, and cyclic prefix (CP) insertion. This process converts raw data from the MAC layer into complex data. The following figure illustrates the WiMAX Physical layer modules used to convert raw data of the MAC layer into complex data.

Figure-2: WiMAX Physical Layer block diagram for transmitter part
These modules work together to form one OFDM symbol. If a burst is longer than one symbol, these modules are used repeatedly. The complex data then passes through the DAC and RF frequency converter before being transmitted via the antenna. The reverse process occurs during reception.
Let’s examine what happens to the MAC layer PDU as it progresses through these modules of the WiMAX physical layer according to the OFDM specifications.
IEEE standard 802.16-2004 defines the modulation-code rate table. For example, the QPSK 3/4 parameters are: Modulation (QPSK), Uncoded block size (36 bytes), Coded block size (48 bytes), Overall coding rate (3/4), RS code (40,36,2), CC code rate (5/6).

Table-1: Physical layer Modulation code rate as defined in wimax standard
For instance, if the PDU has 20 bytes and the modulation-code rate is BPSK1/2, the PDU is fragmented into 12 and 8 bytes to be carried over 2 OFDM symbols. Padding is added to the second symbol as necessary.
We will now use the example of QPSK 3/4 to understand the modules in the OFDM Physical layer, as specified by the WiMAX physical layer standard IEEE 802.16-2004 (also referred to as 802.16d).
- Step 1: 35 bytes are fed into the scrambler, which is a generic linear feedback shift register with an EX-OR gate. The output is randomized data of 35 bytes, to which a hex byte of zero is added.
- Step 2: The resulting 36 bytes become the input for the RS encoder, which produces 40 bytes of data with redundancy for error correction at the receiver. Note that the RS Encoder is bypassed for BPSK1/2.
- Step 3: The Convolutional Encoder doubles the input bytes, producing 80 bytes of data, due to the encoder’s rate of ½.
- Step 4: Puncturing removes bits according to the order specified in the standard, increasing the data rate. For QPSK3/4, the puncturing configuration is 5/6, resulting in a total of 48 bytes, as mentioned in the WiMAX block diagram.
- Step 5: The Interleaver uses permutation equations to aid in error correction by spreading the data across distributed carriers within a bunch of 192 data carriers in the OFDM symbol (out of a total of 256 carriers).
- Step 6: These 48 bytes (384 bits) are fed to the QPSK data mapper, which generates 192 complex data points to be carried over the 192 data carriers. In QPSK, 2 bits are converted into one complex data point based on the constellation diagram.
- Step 7: The symbol is formed by embedding pilot, DC, and guard carriers. WiMAX uses OFDM symbols with a total of 256 carriers, consisting of 192 data carriers, 8 pilot carriers, 1 DC carrier, and the remaining carriers acting as guard carriers.
- Step 8: These 256 values are then fed to the IFFT (Inverse Fast Fourier Transform) module, which generates time-domain complex data.
- Step 9: A cyclic prefix (CP) is added to the OFDM symbol to mitigate the effects of delay spread.
- Step 10: After the CP is added to each symbol, packet formation occurs. For the Downlink subframe, the Preamble and FCH are appended to the Downlink bursts after they have passed through all the physical layer modules described above. For the Uplink Burst, only the preamble is appended to the uplink burst after the burst is formed by concatenating all the symbols.
The reverse process takes place in the WiMAX physical layer receiver, with the addition of time, frequency, and channel estimation and equalization modules before the data passes through the FFT, de-mapping, de-interleaving, decoding, and descrambling blocks.
Reference
IEEE 802.16-2004 Standard Section 8.3 OFDM WiMAX Physical layer
Advertisement
RF