TD-SCDMA vs. WCDMA: Frame Structure and Physical Layer Comparison
Advertisement
TD-SCDMA stands for Time Division Synchronous Code Division Multiple Access. It’s also known as China’s 3G standard, similar to Europe’s 3G (WCDMA). TD-SCDMA utilizes frequency bands ranging from 1785MHz to 2220 MHz. It employs a bandwidth of either 1.6MHz or 5 MHz depending on the Mcps (Million chips per second) requirement.
This article explores the frame structure and physical layer of TD-SCDMA, highlighting its unique features and comparing it to WCDMA.
TD-SCDMA Frame Structure
As depicted in Figure 1, TD-SCDMA uses a single unpaired spectrum for both downlink (DL) and uplink (UL) traffic. TDD (Time Division Duplexing) is employed to provide access to both uplink and downlink traffic in different time slots on this shared spectrum. TD-SCDMA uses spectrum efficiently by allocating time slots as per the data load requirements in the downlink and uplink, making it ideal for asymmetric traffic.

Figure 2 shows the TD-SCDMA frame structure, illustrating the frame hierarchy. In TD-SCDMA, a super-frame of 720 ms duration is composed of 72 radio frames, each lasting 10 ms.

- Each radio frame is further divided into two sub-frames, each of 5ms. One sub-frame consists of 7 normal time slots used for downlink/uplink and 3 special time slots.
- In the 7 normal time slots, slot TS0 is used for downlink, slot TS1 for uplink, and the remaining time slots are allocated based on the traffic demand in downlink/uplink.
- The 3 special time slots are used as DwPTS (downlink pilot timeslot), GP (guard period), and UpPTS (uplink pilot timeslot). DwPTS and UpPTS are used for downlink and uplink synchronization, respectively.
For the 1.28 Mcps TDD case, 1.6 MHz is allocated, and for the 3.84Mcps TDD case, 5 MHZ is allocated. Information data bits are spread across using CDMA codes. 16 codes are allocated for each time slot.
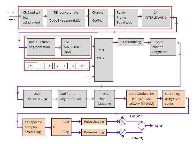
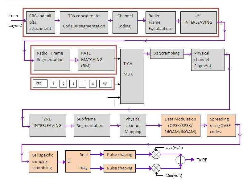
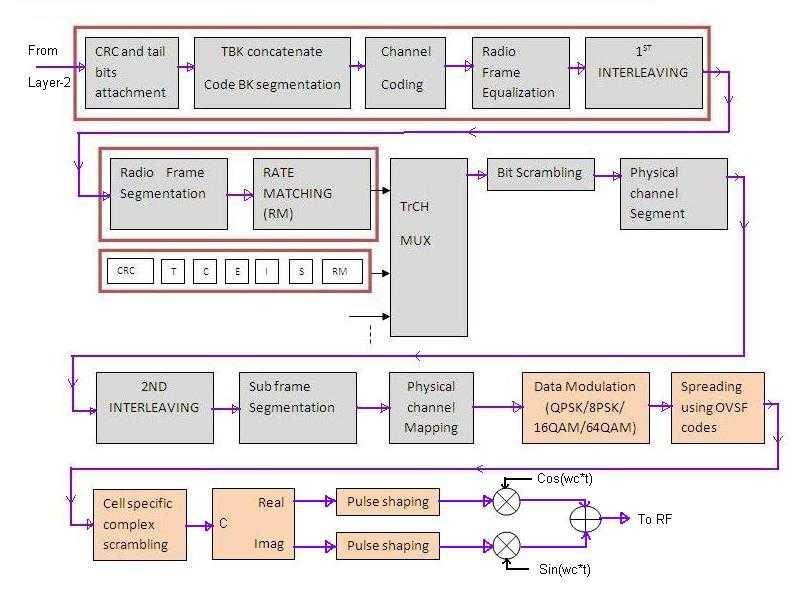
TD-SCDMA Physical Layer
The physical layer of TD-SCDMA handles the actual transmission and reception of signals. It mainly comprises the radio transceiver, modulation and demodulation, channel coding and decoding, synchronization, signal processing, multiplexing and demultiplexing, etc.

The figure illustrates a detailed block diagram of the TD SCDMA physical layer modules.
Difference between TD-SCDMA and WCDMA
Let’s compare TD-SCDMA vs. WCDMA and derive the differences between these technologies.
| Parameters | TD-SCDMA | WCDMA |
|---|---|---|
| Duplex scheme | TDD (Time Division Duplex) | FDD (Frequency Division Duplex) |
| Frequency bands | 1880-1920 MHz (China-specific), Shared frequency band for uplink/downlink | 1920-1980 MHz (uplink) / 2110-2170 MHz (downlink), Separate frequency bands for uplink/downlink |
| Channelization | 1.6 MHz channel bandwidth | 5 MHz channel bandwidth |
| Frame duration | 15/30/60 ms | 10 ms |
| Time slot allocation | Fixed time slots | Flexible time slots with spreading codes |
| Interference susceptibility | More susceptible to interference due to TDD | Less susceptible to interference due to FDD |
| Global adoption | Limited, primarily used in China | Widely adopted worldwide as UMTS |
| Spectral efficiency | 1.25 bit/sec/Hz | 1 bit/sec/Hz |
| Capacity | 2.5 Mbps/cell | 2 Mbps/cell |
| Data focus | Designed with a focus on data services | Supports both voice and data services |
| Evolution and standards | Limited evolution | Evolved into HSPA, HSPA+ and beyond |
References
TD-SCDMA Forum, Website- www.tdscdma-forum.org/en/
Summary
TD-SCDMA had limited adoption outside of China and was primarily used in Chinese 3G telecom networks. As mobile technology continues to evolve from 4G LTE to 5G NR and 6G, these cellular technologies will overshadow the presence of TD SCDMA. These technologies offer distinct approaches to mobile communication, with TD-SCDMA utilizing a combination of time and code division techniques and WCDMA employing pure code division methods. Understanding their frame structures and physical layer components provides a clear picture of how these technologies manage spectrum and data transmission.
Advertisement
RF